Aufruf zum Ringversuch nach DIN EN ISO 21968
Der Arbeitsausschuss NA 062-01-61 AA Mess- und Prüfverfahren für Schichten und Schichtsysteme ruft zur Beteiligung am Ringversuch nach DIN EN ISO 21968 auf. Im Rahmen des Ringversuches soll die Wiederholpräzision und Vergleichpräzision ermittelt werden.
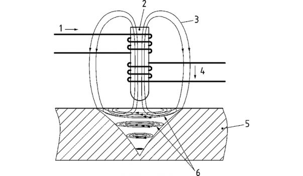
Die DIN EN ISO 21968 aus dem Jahre 2005 wird derzeit durch das ISO/TC 107 Metallic and other inorganic coatings überarbeitet. Die Norm legt ein Verfahren zur zerstörungsfreien Messung der Dicke nichtmagnetischer metallischer Überzüge auf metallischen und nichtmetallischen Grundwerkstoffen unter Anwendung phasensensitiver Wirbelstromgeräte fest. Das phasensensitive Wirbelstromverfahren erlaubt die berührungsfreie Messung metallischer Schichten auf variablen Grundwerkstoffen, das heißt auch die Schichtdickenmessung bewegter Schichten (z. B. Produktion metallischer Folien oder Bänder) oder die Schichtdickenmessung von Metallschichten unter einer nichtleitenden Schicht (z. B. Messung der Schichtdicke von Zink in der Applikation Lack/Zink/Stahl oder Kupfer unter Lackschutzschichten).
Beispiele für solche Überzüge sind:
-Zink, Kupfer, Zinn oder Chrom auf Stahl (typische galvanische Schichten);
-Kupfer, Aluminium oder Silber auf Verbundwerkstoffen oder Kunststoffen (Leiterplattenanwendungen, elektrisch leitende Abschirmschichten);
-Zinn auf Kupfer (metallische Schicht auf metallischem Grundwerkstoff, wenn sich die Leitfähigkeiten mindestens um den Faktor 2 unterscheiden).
Der Messbereich der phasensensitiven Wirbelstromsensoren wird durch die Wahl der Messfrequenz bestimmt.
Versuchsplan
Die Durchführung des Ringversuches ist für Mitte 2018 geplant und soll von allen Teilnehmern zeitgleich gemeinsam durchgeführt werden. Über Ort und Termin werden die Interessente bei Teilnahme rechtzeitig informiert.
Die Verwendung typischer Proben der Teilnehmer ist erwünscht. Die Eignung und Verwendung dieser Proben wird im Rahmen der Vorbereitung des Ringversuchs abgestimmt. Weitere Proben werden bei Bedarf zur Verfügung gestellt. Jeder Teilnehmer bringt sein Prüfgerät mit, so dass möglichst Geräte verschiedener Hersteller zum Einsatz kommen. Bei Bedarf können auch einzelne Messgeräte zur Verfügung gestellt werden.
Die Messergebnisse werden anschließend zentral durch einen Mitarbeiter des Arbeitsausschusses statistisch ausgewertet. Die Auswertung des kompletten Ringversuchs erhalten die Teilnehmer als zusammengefassten Bericht. Die Ergebnisdarstellung erfolgt anonym. Die Teilnehmer erhalten aber Hinweise über ihre individuellen Ergebnisse (Labornummer) und eine Bescheinigung über die Teilnahme.
Einladung und Rückmeldung
Eingeladen zur Teilnahme sind alle Anwender des phasensensitiven Wirbelstromverfahrens, wie zum Beispiel Hersteller galvanischer Schichten, Oberflächenveredler oder auch Endabnehmer dieser Beschichtungen, die im Rahmen der Qualitätskontrolle die Dickenbestimmung der Metallschichten durchführen. Darüber hinaus bitten die Organisatoren aber auch Hersteller von Prüfgeräten, unabhängige Prüflabore und Institute um Teilnahme.
Wer über die technischen Voraussetzungen verfügt und die Absicht hat, sich am Ringversuch 2018 zu beteiligen, wird gebeten, sich bis zum 31. Dezember 2017 per E-Mail bei Janine Winkler, DIN-Normenausschuss Materialprüfung (janine.winkler@din.de) zu melden.
Aktuelle Onlineartikel
-
19. 02. 2026 Biobasierte Fasern mit gutem Flammschutz
-
19. 02. 2026 Beton als CO₂-Senke
-
18. 02. 2026 Biobasierter Hochleistungskunststoff für die Elektroindustrie
-
18. 02. 2026 Laufzeitrekord und erste Stromerzeugung mit kompressorloser Wasserstoffgasturbine
-
17. 02. 2026 Blick durch die Röntgenbrille –Alterungsprozesse in Natrium-Zink-Salzschmelzbatterien entschlüsselt
-
28. 01. 2026 Wolfram: Dual-Use als Waffe im Rohstoffkrieg